how to
measure for
furniture delivery
It's a must to take proper measurements to ensure your furniture will not only fit in
your space, but also to ensure it fits through all of the passageways upon delivery.
Follow these easy tips and watch a step-by-step video to see how to measure your
furniture like a pro.
3 simple steps for successful furniture delivery
Watch the video
measure your space
Identify the space in the room
where you intend your piece to sit.
Using painter's tape, mark out the
dimensions on the floor. Does it fit?
Is the scale right for the room? You
can also create a floor plan using
our online room planner.
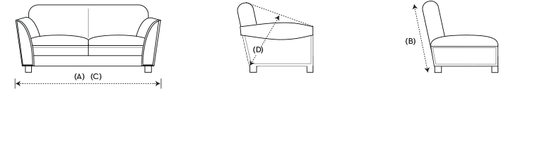
compare dimensions
Consider the furniture to be delivered and determine if it can go straight through entryways or if it will have to go in at an angle or on its end.

Sofa width must be less than
entryway dimensions A or C.
Diagonal Depth
Diagonal depth must be less than entryway dimension B. Diagonal depth is helpful when determining if the piece can be brought in on its end.
Armless Piece
For any piece that does not have arms (such as a wedge), do not use diagonal depth measurement. Instead, be certain that the back height measurement is less than the door width (B).
measure all doorways, passages & stairwells
Measure the interior height and width of every doorway, staircase, elevator and hallway that the item will pass through. Also consider architectural details and low hanging fixtures as you measure.

we can help!
Need a second opinion or help
measuring furniture for your
space? We offer both in-store and
in-home appointments. Make an
appointment today either online or
by calling your local store.

